使用网站关键词查询百度排名及历史排名的方法
使用网站关键词查询百度排名及历史排名的方法
关键词排名是每个网站赖以生存的基础,尤其是百度排名,更被关注。一个关键词的排名情况,是网站优化工作者必须掌握的,要不然很难做好seo工作。了解了关键词历史排名情况,才会有相应网站优化方案,让关键词取得更好的排名。今天就分享一下,如何查询某个关键词的百度排名及历史排名。
1、首先在浏览器打开百度,搜索栏输入“关键词排名查询”,然后搜索。

2、在搜索结果中找到站长工具并打开。

3、打开以后,页面上有“百度关键词排名查询”和“百度关键词地区排名查询”两个搜索框。

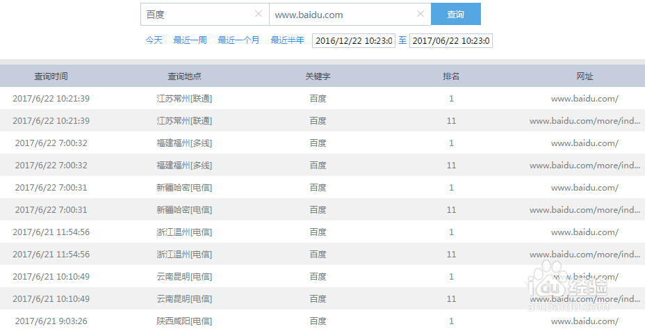
4、我们以“百度”这个关键词为例,查询百度这个网站在搜索引擎中的排名。

5、第一个搜索框,算是综合查询,结果是随机的地区排名。第二个搜索框,是地区排名查询,结果默认显示1到50名是否有排名,依次类推。


6、这个排名的结果并不是只查询的你输入的网站首页的排名,而是这个网址下所有参与排名的链接的排名。如图所示,最右侧有下拉按钮,点开可以看到全部有排名的网站链接。

7、在排名查询的结果页面上,有查看历史排名,点击打开,就可以看到某个关键词的历史排名。时间可以自定义。

